'74 2.0 - mostly original
I am in the middle of rebuilding of the front end - all new bushings, shocks, etc.
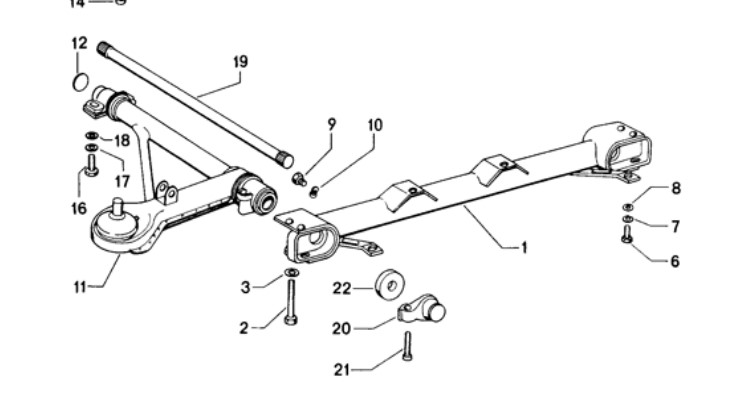
Torsion Rods are in very good shape though they are both marked "R"....
I was told on this board that an R can be inserted in reverse which would make it an L, is this OK......???
I am trying to replace the cotton washer that seems to hold the grease in the torsion rod container.
I have found some made of a spongy synthetic material instead of the cotton found in original cars.
I am thinking about replacing the original cotton washers since they seem OK,
Should these be replaced? How critical do we think this component is ?
See #22
Click to view attachment
